Relais-Ausgangsmodul MODBUS RTU-Steuermodul MAX-MR-RO-4
- Das F&F-Relaismodul MAX-MR-RO-4 ist eine zuverlässige Lösung für die Gebäude- und Industrieautomation. Es bietet 4 16A Ausgänge, MODBUS RTU Steuerung über RS-485, Statusspeicher, DIN-Schienenmontage und einen weiten Spannungsbereich von 9-30V DC.
Relais-Ausgangsmodul MODBUS RTU Steuerung 4x Relaismodul MAX-MR-RO-4
Das Steuerungsmodul MR-RO-4 ist mit vier unabhängig gesteuerten Relaisausgängen (mit getrennten Kontakten) ausgestattet. Jeder dieser Ausgänge arbeitet autonom, entsprechend dem gewählten Modus und den zugewiesenen Parametern. Die Konfiguration und Überwachung des Zustands der Ausgänge, die Einstellung der Betriebsparameter sowie alle Kommunikations- und Datenaustauschparameter erfolgen über den RS-485-Port unter Verwendung des MODBUS RTU-Protokolls. Das Vorhandensein der Versorgungsspannung wird durch das Aufleuchten der grünen LED mit der Bezeichnung U signalisiert. Die korrekte Datenübertragung zwischen dem Modul und einem anderen Gerät wird durch das Aufleuchten der gelben LED Tx angezeigt.
Funktionen des Relaisausgangs-Erweiterungsmoduls MR-RO-4:
4 unabhängige Ausgänge
ON/OFF-Steuerung
Ausgangsstatus
Zeitsteuerungsoptionen
-verzögertes Einschalten
-Verzögertes Einschalten für die eingestellte Zeit
-Zyklischer Betrieb EIN/AUS
-Zyklusbetrieb AUS/EIN
Zustandsspeicher nach Stromausfall
Autostart für zeitgesteuerte Funktionen
Zeitpunkt der letzten Aktivierung des Ausgangs
Anzahl der Einschaltvorgänge des Ausgangs
Anzahl der abgeschlossenen Zyklen für zeitabhängige Funktionen

BETRIEBSARTEN
0. EIN/AUS
1. verzögertes Einschalten
2. Einschalten für die eingestellte Zeit
3. verzögerte Einschaltung für eine eingestellte Zeit
4. aus/ein-Zyklus
5. EIN/AUS-Zyklus
STATUSSPEICHER UND AUTOSTART
Für jeden Ausgang können spezielle Statusspeicher- und Autostartfunktionen aktiviert werden.
Technische Spezifikationen
Allgemeine Daten
Index: MAX-MR-RO-4
Versorgungsspannung: 9÷30 V DC
Maximaler Laststrom AC-1: 16 A
Schaltelement: 4 x Relais
Kontaktkonfiguration: 4 x NO
Kontakttrennung: JA
Kommunikation
Ports: RS-485
Kommunikationsprotokoll: MODBUS RTU
Betriebsart: SLAVE
Geschwindigkeit - einstellbar: 1200÷115200 bit/s
Datenbits: 8
Stoppbits: 1 / 1.5 / 2
Paritätsbits: EVEN / ODD / NONE
Adresse: 1÷247
Anschlüsse und Stromversorgung
Anschluss: Schraubklemmen 4,0 mm²
Anzugsdrehmoment: 0,5 Nm
Leistungsaufnahme: 1 W
Betriebsbedingungen
Betriebstemperatur: -20÷50°C
Abmessungen: 4 Module (70 mm)
Montage: auf DIN-Schiene 35 mm
Schutzart: IP20
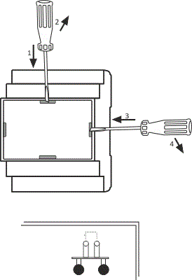
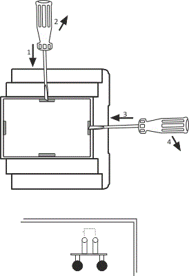
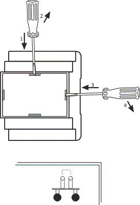
Zurücksetzen der Kommunikationseinstellungen:
MB Config
Das Programm ermöglicht das Testlesen von Werten und die Einstellung von Kommunikations- und Konfigurationsparametern des Moduls. Kommunikation des Moduls mit einem PC über den USB-Konverter CN-USB-485. Das Programm ist kostenlos.

Stelle eine Frage
Ihre Bewertung schreiben





























